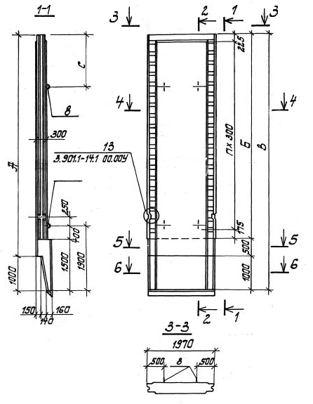
2ПС 66.3-1ш

Чертеж изделия:
Чертеж 2ПС 66.3-1ш
Характеристики изделия:
ПараметрЗначение
Длина1970 мм
Ширина300 мм
Высота7600 мм
Масса10650 кг
Нормативный документСерия 3.901.1-14

2ПС 66.3-1ш   Панель стеновая по Серии 3.901.1-14.

Маркировка

2 - опускной способ производства работ;

ПС - панель стеновая;

66 - длина стеновой панели в дм;

3 - толщина стеновой панели в дм;

1 - тип армирования;

ш - вариант со шпоночным стыком.