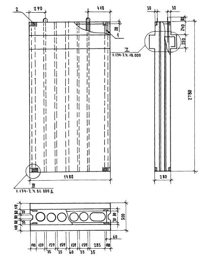
ВБВ-15.28.5-т

Чертеж изделия:
Чертеж ВБВ-15.28.5-т
Характеристики изделия:
ПараметрЗначение
Длина1480 мм
Ширина280 мм
Высота2780 мм
Масса2050 кг
Нормативный документСерия 1.134-2

Блоки внутренних стен толщиной 16 см и вентялиционные блоки для жилых зданий высотой 1-4 этажа и общественных зданий высотой 1-3 этажа по Серии 1.134-2.

ВБВ-15.28.5-т  Вентиляционный блок внутренний.